首页
索赔征集
律师简介
新闻资讯
案件进展
索赔问答
成功案例
联系我们
案件进度
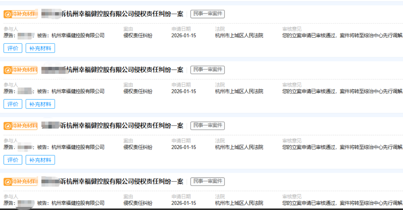
【宋都股份】2026/1/23立案审查通过,后续关注调解进度
时间:2026-01-26 10:42:34
来源:股民索赔宝
点击:95
<
上一篇:
【ST美讯】2026/1/21新增5人提交至济南中院立案(截取部分)
>
下一篇:
【中期退】2026/1/23新增19人提交立案(截取部分)